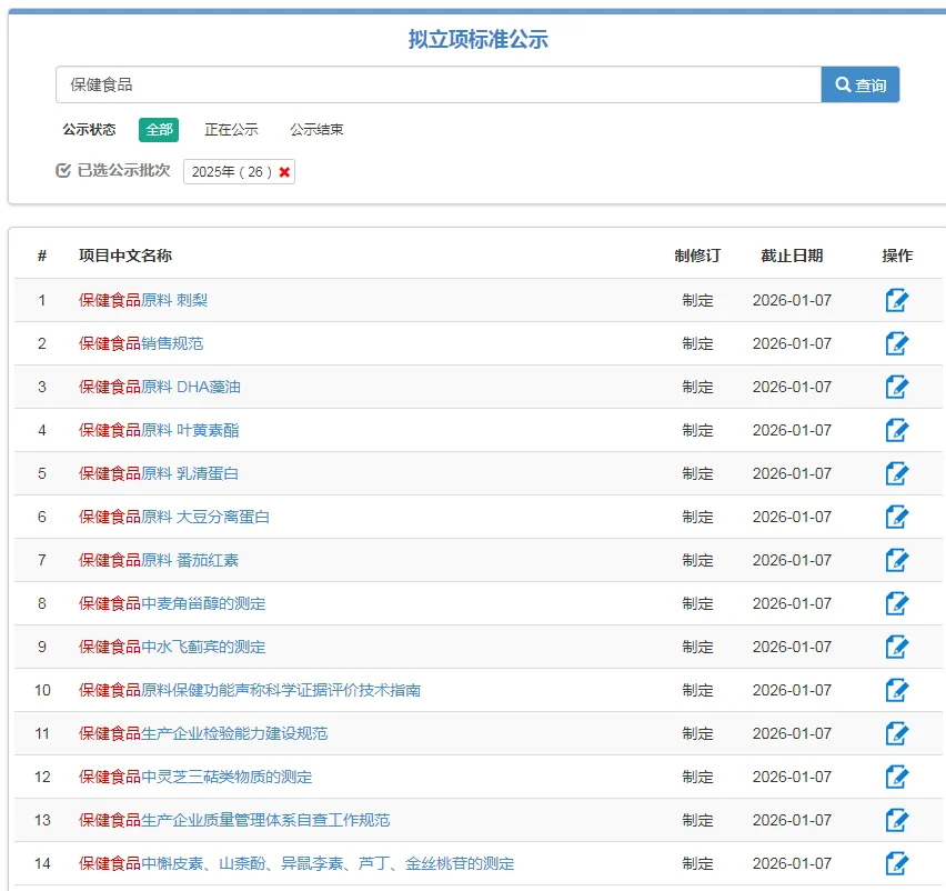
12月8日,全国标准信息公共服务平台公示了14项保健食品相关拟立项国家标准计划,并面向社会公开征求意见。

图片来源:全国标准信息公共服务平台
此次拟立项标准涵盖多个领域,包括DHA藻油、乳清蛋白、大豆分离蛋白等6项原料标准,以及水飞蓟宾、麦角甾醇等测定标准, 以及保健食品生产企业相关规范标准。
其中,最值得关注的是《保健食品销售规范》、《保健食品原料保健功能声称科学证据评价技术指南》两项聚焦行业痛点的标准。
01-拟对实体门店与网络渠道的销售行为作出系统规定-
据庶正康讯了解,《保健食品销售规范》聚焦当前经营环节的突出问题,拟对实体门店与网络渠道的销售行为作出系统规定,涵盖专区专柜设置、广告宣传、直销管理、食品安全自查、投诉处置及应急响应等关键要求。标准由国家市场监督管理总局食品审评中心、中国营养保健食品协会、中国食品发酵工业研究院等机构牵头起草,旨在为经营者提供清晰、统一的合规指引。

图片来源:全国标准信息公共服务平台
而《保健食品原料保健功能声称科学证据评价技术指南》则着力解决产品注册备案中的技术瓶颈。该指南将明确功能声称所需科学证据的收集方法、评价程序、证据等级划分及报告格式,由国家市场监督管理总局食品审评中心、中国营养学会、中国疾控中心营养与健康所等权威单位联合制定,为企业开展功效研究和申报提供可操作的技术路径。

图片来源:全国标准信息公共服务平台
庶正康讯科学与法规中心负责人李芃表示,《保健食品销售规范》直击企业终端经营中的合规盲区,有望通过细化专区专柜、广告宣传、网络销售等具体操作要求,帮助企业有效规避因标签误导、混放销售或不当宣传引发的监管处罚与消费纠纷,显著降低合规成本,提升运营效率;而《保健食品原料保健功能声称科学证据评价技术指南》则为企业开展功能声称研究和注册备案提供了清晰、可操作的技术路径,切实解决企业的现实难题,大幅减少研发试错成本与审评沟通负担,提升产品上市效率。
在监管趋严与消费需求升级的双重驱动下,越来越多的标准立项和推进,标志着保健食品行业正从经验导向转向制度化、科学化发展。它们不仅是企业合规经营和产品创新的重要支撑,也将为产业高质量发展夯实制度基础。
*本文仅代表作者本人观点,不代表本站立场,内容仅出于信息传播和交流目的;不代表我们绝对认同相关宣称,也不支持任何产品销售。
*如若本站内容侵犯了原著者的合法权益,或不愿在本站发布,请联系我们进行处理。
*本站原创内容转载无需联系,注明出处即可。
*联系我们:iNEWFOODCOM@GMAIL.COM
