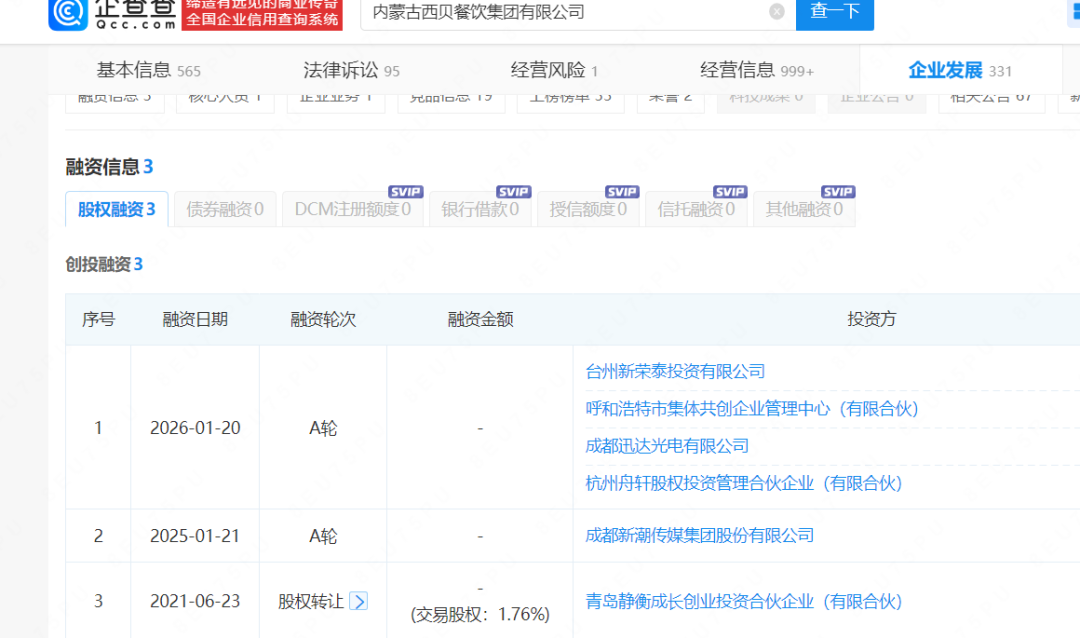
近日据媒体报道,1月20日内蒙古西贝餐饮集团有限公司获得A轮融资,投资方包括台州新荣泰投资有限公司、呼和浩特市集体共创企业管理中心(有限合伙)、成都迅达光电有限公司、杭州舟轩股权投资管理合伙企业(有限合伙)等。
虽然融资金额未对外披露,但据工商信息显示,西贝餐饮的注册资本却从8990.2万元增加到10168.01万元,增幅为13.1%。

最近西贝因关店事件而引发舆论关注,1月18日、1月19日、1月20日人民日报已连续三天发布《人民日报评西贝关店事件:网络舆论环境不能成为企业发展的短板》、《人民日报再评西贝关店事件:危机面前,坦诚是最好的公关》、《人民日报三评西贝关店事件:自媒体不是私域不可肆意》三篇文章,让这场“网络约架”及时刹车。
那么为什么在风口浪尖之下,西贝还能获得融资呢?对方投资西贝的目的又在何处?
其实这并不是西贝首次拥抱外部资本,早在2021年西贝就通过股权转让引入静衡投资,正式开启资本化运作。
而2025年1月,西贝还获得新潮传媒的A轮融资,但两次融资金额均未披露。
而在本轮融资中,其中两家投资方非常值得关注,他们的入局很可能将决定西贝未来的发展方向。
一个是台州新荣泰投资有限公司,其创始人为新荣记创始人张勇,提及新荣记相信不少人都知道,这家高端中餐标杆企业,于1995年10月由张勇在浙江台州临海创立,从海鲜大排档起步,主打台州菜,坚持“食必求真,然后至美”的理念,品牌拥有完整的食材供应链与多品牌矩阵,也是中国大陆首家摘得米其林三星的中餐品牌,目前新荣记已经累计斩获超79颗米其林星。

另一家是杭州舟轩股权投资,它是由前阿里巴巴合伙人,蚂蚁集团CEO胡晓明持股97%并担任执行事务合伙人。
据全食在线了解,这并非胡晓明首次涉足餐饮领域,此前其已出任巴奴火锅独立非执行董事。
事实上从资本角度来看,虽然西贝受去年9月以来的预制菜风波影响而将闭店100多家,但西贝的品牌影响力还在,而且门店覆盖全国62城,具备大众餐饮的高复购和客群基础。
这也是资本愿意投资西贝的核心,也足以说明目前来看西贝的品牌力其实还在。
但资本之所以选在西贝最艰难的时机出手,看中的就是西贝的价格洼地和长期价值,即便陷入预制菜风波,但西贝长期以来建立的西北菜产品矩阵、成熟的供应链体系和员工团队基础,不会因为风波而动摇根基。
换句话说,西贝的基础还在,只要适当调整,还有发展的机会,毕竟资本绝不做赔本买卖。
在全食在线看来,此次融资的核心亮点,并非单纯的资金注入,而是投资方背后的战略资源协同,新荣记张勇、胡晓明等投资者的加入,恰好补齐了西贝当前最关键的能力短板。

新荣记张勇拥有米其林级品控体系,并且新荣记在食材溯源、精细化运营上面拥有成熟的方法论,而这拿来即用的方法可以直接复刻在西贝上面。或许可以修复因预制菜风波而带来的信任危机。
此前西贝曾尝试“西贝功夫菜”等高端子品牌但效果不佳,而新荣记在商务宴请、高端家庭聚餐场景的运营经验,有望推动西贝实现“大众规模+高端品质”的融合突破。
而拥有互联网资源的胡晓明,或许能够通过数字化帮助西贝在品控升级,产品追溯、会员体系上面带来新的突破,打造线上运营、私域流量、数字化供应链的一体化方案。
同时胡晓明的加入,不仅能导入阿里生态的资源支持,其背后的农业科技资源更能与西贝的上游供应链形成协同,进一步优化食材种植效率与成本控制。
这种“资本+资源”的组合,让此次融资超越了单纯的“输血”意义。投资方通过输出品控标准、数字化能力、高端运营经验,帮助西贝重构“品质+效率”的核心竞争力,从根本上解决此前暴露的品控争议与增长乏力问题,这也是资本愿意下注的关键逻辑,与其说投资西贝,不如说投资“西贝+新荣记+阿里系资源”的协同效应。
*本文仅代表作者本人观点,不代表本站立场,内容仅出于信息传播和交流目的;不代表我们绝对认同相关宣称,也不支持任何产品销售。
*如若本站内容侵犯了原著者的合法权益,或不愿在本站发布,请联系我们进行处理。
*本站原创内容转载无需联系,注明出处即可。
*联系我们:iNEWFOODCOM@GMAIL.COM
